Page 22 - 汨罗市政府投资建设项目管理实施办法
P. 22
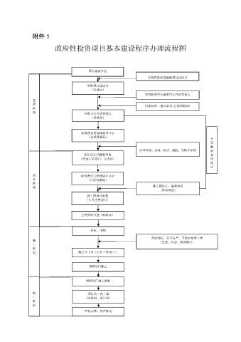
附件 1
政府性投资项目基本建设程序办理流程图
项目建设单位
有资质的单位编制项目建议书
审批项目建议书
(发改局)
有资质的单位编制可行性研究报告
立
项 用地预审、选址意见(自然资源局)
阶
段 审批可行性研究报告
(发改局)
核发建设用地规划许可证
(自然资源局)
不
需
编
办理环保、水保、防洪、通航、文物等手续 制
初步设计和概算审批 初
(行业主管部门、发改局) 步
设
计
设 核发建设工程规划许可证
计 (自然资源局)
阶
段 施工图设计、编制预算
(资质单位)
施工图设计审批
(行业主管部门)
工程预算审查(财政局)
招标、采购
办理消防、安全生产、节能审批等手续
施 (住建、应急、发改部门)
工
阶
段 施工许可证(行业主管部门)
组织项目施工
组织项目竣工验收
竣 项目结(决)算
工 (财政局、审计局)
阶
段
产权办理、资产移交

